
Ideaal voor renovaties
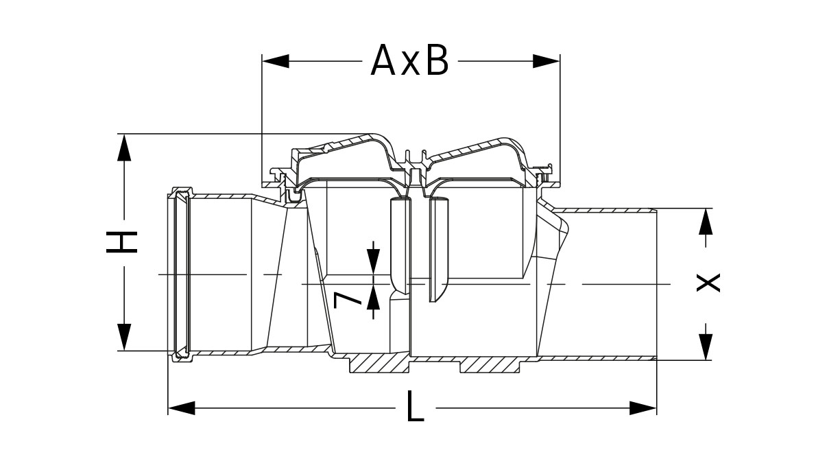
Als er in de bestaande leiding geen terugstuwbeveiliging past, kan dat extra werk en kosten met zich meebrengen. Het verval van de Staufix Basic bedraagt van toevoer tot afvoer maar 7 mm, zodat zij zonder problemen kan worden geïntegreerd. De variant “basiselement reinigingsbuis” kan als reinigingstoegangspuntworden gebruikt.

Probleemloos in bedrijf, zonder gereedschap te onderhouden
De Staufix Basic is volledig van kunststof gemaakt, zodat ze tegen corrosie is beschermd. Maar dat is niet het enige wat haar makkelijk te onderhouden maakt: dankzij de praktische snelspansluitingen kan de terugstuwbeveiliging zonder gereedschap voor onderhoud worden geopend.



























